On an optical network, a sender needs to convert electrical signals into optical signals before sending them to a receiver, and the receiver needs to convert received optical signals into electrical signals. An optical module is a component that completes electrical/optical conversion on an optical network.
Optical Module Appearance and Structure
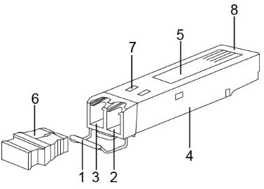
Shows the structure of an optical module:

- Handle
- Receiver
- Transmitter
- Shell
- Label
- Dust cap
- Spring
- Module connector
Types of Optical Modules
Huawei optical transceiver are available in various types to meet diversified requirements.
Classified by transmission rates
Depending on transmission rates, optical modules are classified into 100GE, 40GE, 25GE, 10GE, FE, and GE optical modules.
Classified by encapsulation types
The higher transmission rate an optical module provides, the more complex structure it has. Optical modules are encapsulated in different modes to provide different structures. Huawei switches support optical modules of the following encapsulation types: CFP, QSFP+, QSFP28, XFP, SFP, eSFP, and SFP+. All optical modules are hot swappable.
- SFP: small form-factor pluggable. SFP optical modules support LC fiber connectors.
- eSFP: enhanced small form-factor pluggable. An eSFP module is an SFP module that supports monitoring of voltage, temperature, bias current, transmit optical power, and receive optical power. Therefore, eSFP is also called SFP sometimes.
- SFP+: small form-factor pluggable plus, SFP with a higher rate.
XFP: 10 Gigabit small form-factor pluggable. X is the Roman numeral 10, meaning that all XFP optical modules provide a 10 Gbit/s transmission rate. XFP optical modules support LC fiber connectors. They are wider and longer than SFP+ optical modules.
- SFP28: with the same interface size as an SFP+ module. An SFP28 interface can use a 25GE SFP28 optical module.
- QSFP+: quad small form-factor pluggable. QSFP+ optical modules support MPO fiber connectors and are larger than SFP+ optical modules.
- CFP: centum form-factor pluggable. The dimensions of a CFP optical module are 144.75 mm x 82 mm x 13.6 mm (L x W x H). CFP is a new optical module standard that can be used in data communication and telecommunications fields.
- QSFP28: with the same interface size as a QSFP+ module. A QSFP28 interface can use a 100GE QSFP28 optical module or a 40GE QSFP+ optical module.
Classified by physical layer standards
Different physical layer standards are defined to allow data transmission in different modes. Therefore, different types of optical modules are products.
Classified by modes
Optical fibers are classified into single-mode and multimode fibers. Therefore, optical modules are also classified into single-mode and multimode modules to support different optical fibers.
- Single-mode optical modules are used with single-mode fibers. Single-mode fibers support a wide band and large transmission capacity, and are used for long-distance transmission.
- Multimode optical modules are used with multimode fibers. Multimode fibers have lower transmission performance than single-mode fibers because of modal dispersion, but their costs are also lower. They are used for small-capacity, short-distance transmission.
Wavelength division multiplexing modules differ from other optical modules in center wavelengths. A common optical module has a center wavelength of 850 nm, 1310 nm, or 1550 nm, whereas a wavelength division multiplexing module transmits lights with different center wavelengths. Wavelength division multiplexing modules are classified into two types: coarse wavelength division multiplexing (CWDM) and dense wavelength division multiplexing (DWDM). Within the same band, DWDM modules are available in more types and use wavelength resources more efficiently than CWDM modules. DWDM and CWDM modules allow lights with different center wavelengths to be transmitted on one fiber without interfering each other. Therefore, a passive multiplexer can be used to combine the lights into one channel, which is then split into multiple channels by a demultiplexer on the remote end. This reduces the optical fibers required. DWDM and CWDM modules are used for long-distance transmission.
The transmit power of a long-distance optical module is often larger than its overload power. Therefore, when using such optical modules, select optical fibers of an appropriate length to ensure that the actual receive power is smaller than the overload power. If the optical fibers connected to a long-distance optical module are too short, use an optical attenuator to reduce the receive power on the remote optical module. Otherwise, the remote optical module may be burnt. Generally, an optical attenuator is required if an optical module supporting a transmission distance longer than 10 km is used together with short optical fibers.
If you have any questions, please contact: csd@telecomate.com
Leave a comment